
Сбер — один из лидеров российского рынка в сфере искусственного интеллекта. Корпорация разрабатывает сразу несколько технологических решений: здесь и Kandinsky (нейросеть для генерации изображения и видео), GigaChat и многое другое. Посмотрим, как они защищены с юридической точки зрения.
Товарные знаки
Указанные наименования — являются зарегистрированными в Роспатенте. В базах данных есть Gigachat и Гигачат, Kandinsky в разных вариациях:
Патенты
Перечислим некоторые из них.
«Способ создания модели анализа диалогов на базе искусственного интеллекта для обработки запросов пользователей и система, использующая такую модель» — создан на основе взаимодействия Сбера и МФТИ.
Как указывается в описании разработки, ее алгоритм включает несколько этапов:
-
Сначала — рассматривается набор первичных данных (внутри него — текстовое общение между пользователем и оператором);
-
Затем — указанные сведения обрабатываются. На основе этой коммуникации — формируется обучающая выборка: где есть как позитивные, так и негативные примеры. Разграничение указанных показателей производится, ориентируясь на контекст диалогов: при этом позитивные примеры состоят из готовых смысловых блоков, предоставляемых оператором на вопросы пользователя;
-
Далее — начинаем потихоньку обучать компьютер (то есть кодируем хорошие и плохие реплики оператора в набор цифр (вектор);
-
И, наконец, — сохраняем и применяем на практике всю собранную кучу примеров, чтобы ИИ мог находить в разговоре с клиентом наиболее подходящие фразы, отвечая на заданные ему вопросы.
Дочерняя компания Сбер — СберМедИИ правообладатель патента на платформу, позволяющую создавать медицинские приложения с использованием ИИ. Разработка включает несколько параметров: и место, где хранятся релевантные данные, и программы для оценки проводимых исследований, и мастерскую, где создаются приложения, и способы запуска разработанного, и многое другое (позволяющее, например, аутентифицировать пользователей и обмениваться сообщениями).
У этого же правообладателя, отметим, есть еще одна интересная разработка — платформа, позволяющая ставить медицинские диагнозы с использованием искусственного интеллекта (но при поддержке врача). Структура этой системы включает несколько параметров, например: здесь и меню для врача (а также администратора), и получение сопутствующей медицинской информации, а также обработка и представление выводов с отправлением диагноза и рекомендаций лечащему специалисту на телефон.
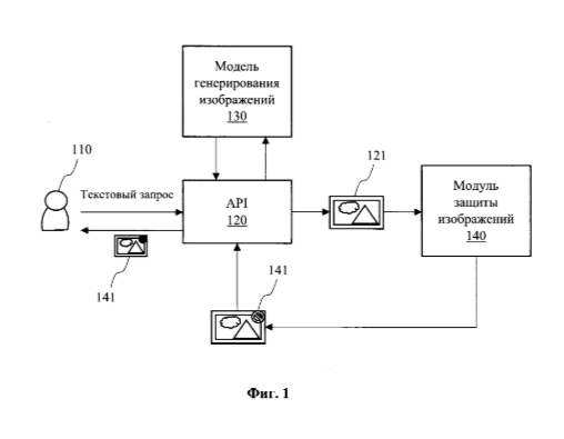
Отметим, что у Сбера есть и другие защитные документы в сопряженных сферах: «Способ и система захвата объекта с помощью роботизированного устройства»; «Интеллектуальная система управления киберугрозами»; «Способ и система формирования запросов на доступ к модели языка нейронной сети» (здесь, кстати, одним из примеров нейросетей указывается GigaChat); «Способ и система защиты подлинности изображений, генерируемых моделью машинного обучения» (а здесь — упоминаемый выше Kandinsky) и многое другое.
Рассмотрим некоторые из этих патентов.
«Метод интерпретации искусственных нейронных сетей». Способ предусматривает:
-
Берем исходно обученную нейросеть;
-
Для каждого слоя внутри нее надо сделать отдельное дерево решений;
-
Оно получает на вход «активации» (то, что этот слой выдает внутри себя), когда прогоняется через сеть какой-то объект;
-
Дерево учится предсказывать точно такой же финальный ответ, который дает сама нейросеть;
-
Потом — для каждого объекта записываем, в какие именно листья мы попали;
-
Получаем последовательность номеров этих листьев;
-
Добавляем логическо-алгоритмическое правило.
Если максимально просто, то в этой конструкции происходит обучение модели путем выстраивания дерева с базовым правилом.
«Интеллектуальная система управления рисками и уязвимостями для элементов инфраструктуры».
Эта разработка — настоящая умная платформа.
Она:
-
Собирает сведения о действующей внутри фирмы IT-инфраструктуре, понимая, как функционируют ее элементы;
-
Далее — выстраивается карта на случай ЧП (если, например, хакер взломает сервер в отдельной точке, то каким образом — он сможет добраться до ядра);
-
На основе этого происходит просчет слабых мест с определением списка последовательности восстановления системы.
Это всё?
Не совсем. Есть еще программы для ЭВМ.
Одно из таких ПО создано внутри дочерней компании «Сбербанка» и называется «AI.Спрос». Программное обеспечение, указывают разработчики, нужно для прогнозирования будущего спроса клиента на товары и услуги, используя возможности ИИ.
Говоря о программах, нельзя не упомянуть также проект, базирующийся на разработках Сбера, — «Дистрибутив с поддержкой большой языковой модели (GigaChat), доступной через программный интерфейс взаимодействия, фреймворка для разработки многонавыковых ИИ-ассистентов на русском языке, работающих в текстовой среде», созданный исключительно в МФТИ.
Как подчеркивали создатели, фреймворк использует архитектуру модульного характера с некоторыми компонентами, предназначенными для анализа текста, выбора навыков и построения диалоговой стратегии, в том числе — предусматривающей возможности применения моделей, созданных на основе русскоязычных данных. Внедрение ИИ GigaChat позволяет ассистентам делать более естественные и точные ответы, используя предобученные языковые модели и гибкие настройки под определенные сценарии взаимодействия с пользователем.
О сервисе Онлайн Патент:
Онлайн Патент — цифровая система № 1 в рейтинге Роспатента. С 2013 года мы создаем уникальные LegalTech‑решения для защиты и управления интеллектуальной собственностью. Зарегистрируйтесь в сервисе Онлайн‑Патент и получите доступ к следующим услугам:
-
Онлайн‑регистрация программ, патентов на изобретение, товарных знаков, промышленного дизайна;
-
Опции ускоренного оформления услуг;
-
Бесплатный поиск по базам патентов, программ, товарных знаков;
-
Мониторинги новых заявок по критериям;
-
Онлайн‑поддержку специалистов.
Автор: ko_ya


