Хабр, а вы боитесь летать? Сейчас каждый самолет представляет из себя комплексное решение из можества подсистем, которые обеспечивают стабильность и безопасность полета. Тенденции таковы, что транспортная отрасль активно интегрирует киберфизические системы, начиная от беспилотных систем в транспорте, заканчивая роевым интеллектом БПЛА.
Однако из-за роста количества модулей, сложности архитектуры, множества технологий, растет и количество уязвимостей. Не все решения разрабатывались с учетом потенциальных атак, а последствия от них могут нести серьезный ущерб. К сожалению, инциденты уже были.

В октябре 2004 года грузовой Boeing 747-244SF авиакомпании MK Airlines разбился при взлёте в аэропорту Галифакс-Стэнфилд (Канада) из-за недостаточной тяги двигателей. Погибли все семь человек на борту.
Расследование установило, что катастрофа произошла из-за ошибки экипажа в расчёте взлётных характеристик, вызванной неверным определением взлётного веса. Ошибка возникла при использовании программного обеспечения Boeing Laptop Tool: его алгоритм автоматически копировал предыдущее значение веса в новую расчётную форму без предупреждения пользователя. В результате вместо актуальных данных было использовано устаревшее значение, что и стало основной причиной катастрофы, как указано в отчёте Канадского совета по безопасности на транспорте (A04H0004, июнь 2006 г.).
Данное исследование и вся представленная в нем информация подготовлены и публикуются исключительно в образовательных и исследовательских целях для повышения осведомленности о киберугрозах и улучшения уровня информационной безопасности.
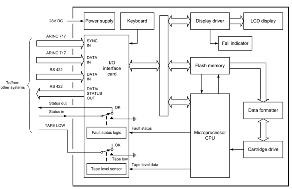
Для понимания атак на авионику, которые будут описаны ниже необходимо ознакомиться с ее архитектурой.
Архитектура авионики
Авионика – это комплекс электронных систем, представляющих собой совокупность вычислительных устройств, модулей связи/навигации, датчиков,обьедененных в единый сетевой контур для управления и мониторинга полетом.

В современных самолётах архитектура строится по модульной распределённой схеме с чёткой иерархией и резервированием критических систем. Её работа основана на детерминированных алгоритмах реального времени, обеспечивающих безопасность полёта.

В основе любой подсистемы авионики лежат контроллеры, которые позволяют агрегировать телеметрию с датчиков, модулей связи, производить их обработку и передачу данных. Состоят они из привычных нам модулей: CPU, RAM/ROM, I/O devices. А так же шин связи, как в рамках платы, для связи компонентов, так и за ее пределами для коммуникации между устройствами по протоклу ARINC, Ethernet.
Атаки на подсистемы авионики
Tampering ACARS
Ключевой вектор атаки на системы авионики – это сервисы и модули связи/навигации, так как большая часть системы является закрытым контуром, то данная децентрализованная часть остается открытой.
Одним из таких уязвимых сервисов является ACARS, он агрегирует данные с борта и отправляет их наземным службам. Ключевая проблема данного проткола в остутсвии аутентификации и шифрования передаваемых данных.
Схема атаки выглядит следующим образом:

Нарушитель используя БПЛА, собственные станции или иные средства MitM, где имеет возможность перехвата VHF сигнала подменяет ACARS пакеты. В следствии чего, могут быть изменены данные:
-
Технические параметры двигателя (обороты, температура, давление масла – через FADEC).
-
Данные о полёте (высота, скорость, курс, расход топлива).
-
Данные о неисправностях (коды ошибок, предупреждения EICAS/ECAM).
-
Метеоданные (турбулентность, температура за бортом).
-
Операционные сообщения (время вылета/прилёта, запросы на обслуживание).
Что нельзя перехватить через ACARS?
-
Управляющие команды (FBW и FADEC работают в закрытом контуре).
-
Данные “чёрных ящиков” (хранятся локально).
На фреймворке, который эмулирует работу данных сервсиов атака выглядит следующим образом. Отправим сообщение на одном из контуров и получим его на клиенте:
acarsdec -A -N 192.168.1.1:5555 -o0 -r 0 131.525 131.725 131.825
[#2 (F:131.725 L:-33 E:0) 10/08/2025 20:15:16.625 --------------------------------
Mode : 2 Label : H1 Id : 3 Nak
Aircraft reg: G-OOBE Flight id: BY01WH
No: F57A
#M1B/B6 LPAFAYA.ADS.G-OOBE0720BD17DFD188CAEAE01F0C50F3715C88200D2344EFF62F08CA8883238E3FF7748768C00E0C88D9FFFC0F08A9847FFCFC16
Message:
Basic report:
Lat: 46.0385513
Lon: -5.6569290
Alt: 36012 ft
Time: 2744.000 sec past hour (:45:44.000)
Position accuracy: <0.05 nm
NAV unit redundancy: OK
TCAS: OK
Flight ID data:
Flight ID: TOM1WH
Predicted route:
Next waypoint:
Lat: 49.5972633
Lon: -1.7255402
Alt: 36008 ft
ETA: 2179 sec
Next+1 waypoint:
Lat: 49.9999809
Lon: -1.5020370
Alt: 30348 ft
Earth reference data:
True track: 35.2 deg
Ground speed: 435.5 kt
Vertical speed: -16 ft/min
Air reference data:
True heading: 24.3 deg
Mach speed: 0.7765
Vertical speed: -16 ft/min
Как видим, сообщение былдо передано в открытом виде без защитных механизмов и даже минимальных checksum.
Spoofing ADS-B
ADS-B так же является сервисом/протоколом связи, который позволяет сообщать о своем положении и скорости в воздушном пространстве наземных станциям, летающим обьектам, а так же получать данные от них. На основе подобной телеметрии работают сервисы Flight Radar и прочие для трекинга летающих обьектов.
Но так же из-за отсутствия шифрования и аутентификации эта система уязвима к спуфингу. Нарушитель может подменить данные и создать виртуальные летающие обьекты вокруг самолета, что может привести к ущербу. Схема представлена ниже:

Авиация пока полагается на избыточность данных (радары, голосовая связь) и человеческую проверку.

Она может использоваться для отвлечения внимания пилотов от основной атаки. На фреймворке, который эмулирует работу данных сервсиов она выглядит следующим образом:
~/P/vAIR(main)> transfer_rf -t test.iq8s -f 1090000000 -s 2000000 -x 47 -R
call hackrf_set_sample_rate(2000000 Hz/2.000 MHz)
call hackrf_set_hw_sync_mode(0)
call hackrf_set_freq(1090000000 Hz/1090.000 MHz)
Stop with Ctrl-C
3.9 MiB / 1.000 sec = 3.9 MiB/second, average power -6.5 dBfs
3.9 MiB / 1.000 sec = 3.9 MiB/second, average power -6.5 dBfs
3.9 MiB / 1.000 sec = 3.9 MiB/second, average power -6.5 dBfs
4.2 MiB / 1.000 sec = 4.2 MiB/second, average power -6.5 dBfs

Мы заспамили ложными сообщениями получателя и сгенерировали новые самолеты.
Атака на In-Flight Entertainment системы
Бортовая система развлечений так же является частью систем самолета, хоть она и изолирована от основного сегмента авионики, но так же может являтся лакомым кусочком для нарушителей.

Классические атаки ARP-spoofing c подменой маршрутизатора и веб-сервисов. А так же атаки на сервер-приложений из OWASP Top 10 остаются актуальными. Так, к примеру благодаря RCE команда исследователей смогла получить доступ к админ панели IFE-системы, на которой стоял стандартный пароль.

В документации к продукту IFE Kontron FASTPATH производитель предлагает стандартную схему подключения:

Где пользователи находятся в одном сетевом сегменте и канальной среде, а в другой серверные решения. Конечно, об IDS/IPS или WAF речи никакой не идет лишь базовой защите VLAN, RADIUS и ACL списками. После входа админ панель выглядела так:

В которой была возможность перевести экраны пассажиров в состояние дебага или воспроизвести собственный медиафайл принудительно у всех пассажиров.

Митигации и способы повышения защищенности
Перед тем, как митигировать угрозы нужно понять насколько они могут нанести реальный ущерб. Исследователи французской службы кибербезопасности (ANSSI) провели экспиремент, где смоделировали часть ранее представленных атак на тренажерах для пилотов.

По результатам, которых неподготовленная группа не смогла самостоятельно детектировать часть атак производимых на самолет. Так как угрозы могут нести ущерб, то необходимо для каждой из рассмотреть митигации.
ACARS
Почему до сих пор не шифруют открытые каналы связи?
-
Тысячи самолётов и наземных станций используют старые стандарты.
-
Авиационные стандарты (ARINC, FAA, EASA) меняются медленно.
-
Шифрование добавляет накладные расходы, а каналы (VHF/SATCOM) и так узкие.
Решение: переход на менее дорогие, алтернативные протоколы. AoIP или ACARS over IP, который уже поддерживает шифрование TLS.
-
С 2025 года крупные авиакомпании (Delta, Lufthansa) активно внедряют AoIP.
-
К 2030 году ожидается отказ от legacy-ACARS в пользу LDACS (защищённый IP-протокол).
ADS-B
Представлен концепт нового протокола ADS-B Sec, который будет поддерживать:
-
Цифровая подпись сообщений (ECDSA, RSA) для проверки подлинности.
-
Избирательное шифрование критических полей (ICAO-код, координаты).
Еще находится в разработке, то производители начали внедрять модули для отслеживания аномалий в текущие решения, такие как Trusted Transponder (Honeywell) для верификации сигналов. Так же избыточность данных позволяет митигировать данную атаку.
In-Flight Entertainment системы
В подобных информационно-вычислитеных сетях уже есть решения, которые бы позволили защитить уровень приложений, для веба можно использовать WAF, а для контроля сетевого трафика IDS/IPS. Тут так же есть место для харденинга, где пассажиров по возможности можно определять в отдельные VLAN.
Самолет по прежнему остается одним из самых безопасных видов транспорта, однако, риски роста кибер-физических систем вносят свои коррективы.
Статья поддерживается командой Serverspace.
Serverspace — провайдер облачных сервисов, предоставляющий в аренду виртуальные серверы с ОС Linux и Windows в 8 дата-центрах: Россия, Беларусь, Казахстан, Нидерланды, Турция, США, Канада и Бразилия. Для построения ИТ-инфраструктуры провайдер также предлагает: создание сетей, шлюзов, бэкапы, сервисы CDN, DNS, объектное хранилище S3.
IT-инфраструктура | Удвоение первого платежа по коду HABR

Автор: an1ik


