
Когда в 1984 году игра Duck Hunt появилась в гостиных и детских, она принесла с собой одно из самых знаковых периферийных устройств в истории игр — пистолет NES Zapper. Но магия, стоящая за наведением пластикового пистолета на экран и попаданием в 8-битную утку, была чем-то большим, чем простым развлечением для тинейджеров. Это был продукт передовой технологии — подобные инновации привели к целому потоку патентов для каждого нового поколения игрового оборудования. Мы решили их вспомнить.
Технология светового пистолета для ЭЛТ-мониторов (1980-е – 1990-е)
-
Пример игры/устройства: Duck Hunt (1984) – NES Zapper
-
Основная технология: Светочувствительный фотодиод для ЭЛТ
-
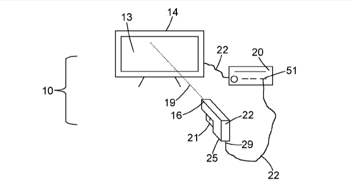
Пример патента: Патент США № 4,813,682 — «Схема управления видеомишенью и сенсорики для фоточувствительного пистолета» (1989) — Nintendo
Изначально разработанный так, чтобы напоминать ковбойский револьвер, NES Zapper с теплотой вспоминают многие представители поколения X и старшие миллениалы, которые были знакомы с такими играми, как Duck Hunt.
Патент США 4,813,682 описывает, как фотодиод NES Zapper обнаруживает быстро мигающие белые квадраты на экране с электронно-лучевой трубкой (ЭЛТ), чтобы определить, была ли поражена цель. Что важно, этот метод полагался на особенности развертки, уникальные для ЭЛТ-дисплеев — ограничение, которое в конечном итоге потребовало новых решений с появлением ЖК-экранов.
К конкурентам NES Zapper относились Menacer (Sega) и Mad Catz Blaster (кросс-совместимый). Многие геймеры старой закалки также могут помнить NES Super Scope, который был преемником NES Zapper и также использовал технологию светового пистолета.
Инфракрасные системы и сенсорная планка (2000-е-2010-е)
-
Пример игры/устройства: Call of Duty (2008) – Wii Remote
-
Основная технология: Инфракрасные излучатели на сенсорной планке консоли, датчики движения и оптические датчики на периферийном устройстве
-
Примеры патентов: Патент США № 7,927,216 — «Видеоигровая система с беспроводным модульным портативным контроллером» (2011); а также Патент США № 8,267,786 — «Игровой контроллер и игровая система» (2012) — Nintendo
Когда ЖК-экраны заменили ЭЛТ, периферийные устройства предыдущего поколения со светочувствительностью, такие как NES Zapper, попросту перестали работать. Nintendo ответила выпуском Wii Remote, который содержал оптический сенсор, определявший инфракрасные светодиоды на «сенсорной планке», расположенной на консоли. Система затем использовала позицию ИК-излучения для триангуляции направления пистолета. Wii Remote также включал датчики движения для распознавания жестов.
Nintendo также разработала дополнение: Wii Nunchuck, который был проводным дополнением к Wii Remote. Nunchuck добавлял аналоговый джойстик, обеспечивая еще больше возможностей ввода.
Как Wii Remote, так и Wii Nunchuck можно было затем закрепить в пистолетной оболочке под названием Wii Zapper.
В итоге Nintendo получила огромное количество патентов на эти технологии — не только перечисленные выше, но и через множество смежных патентов. Играйте дальше.
Контроллеры на основе камер и движения (2010-е- наши дни)
-
Пример игры/устройства: Arizona Sunshine (2016) – PlayStation Move, PS VR Aim Controller & PS Move Sharp Shooter
-
Основная технология: Датчики движения, камеры, ультразвуковая связь
-
Примеры патентов: Патент США № 8,062,126 — «Система и способ взаимодействия с компьютерной программой» (2011); а также Патент США № 10,279,254 — «Контроллер с визуально отслеживаемым объектом для взаимодействия с игровой системой» (2019) — Sony Interactive Entertainment (PlayStation)
По мере того как сами игры становились все более сложными, аппаратные требования также росли. Плюс, на горизонте замаячила VR для масс.
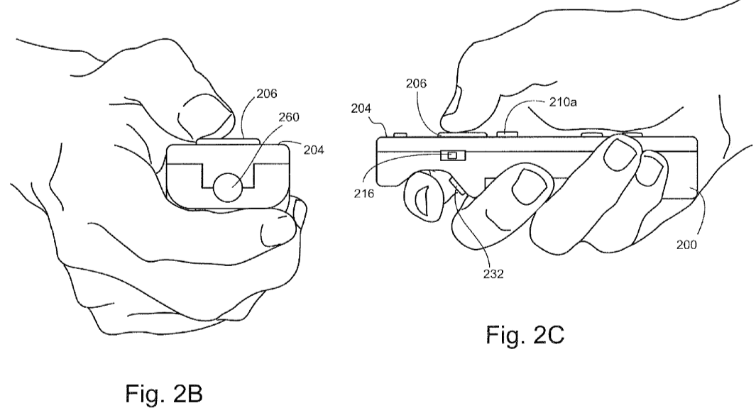
Появились Sony и ее контроллер PlayStation Move, который послужил основой как для PS VR Aim Controller, так и для PlayStation Move Sharp Shooter. Контроллер Move использует как датчики движения, так и светящуюся сферу на основе светодиодов на самом устройстве, которая обнаруживается двумя RGB-камерами на консоли.
В итоге Sony получила почти 20 патентов на эту технологию (как минимум), включая несколько поданных заявок.
Sony также разрабатывала дополнения, чтобы добавить ультразвуковую связь в свой сенсорный комплект для еще большей точности отслеживания местоположения. К сожалению, этот аспект так и не был реализован, но сама функция была отражена в дополнительных патентах PlayStation, таких как Патент США № 8,784,203 («Определение трехмерного местоположения контроллера с использованием анализа изображения и ультразвуковой связи»).
Периферийные устройства на основе ИИ (Наши дни и будущее)
Как вы уже догадались — для всего теперь есть ИИ. Или, перефразируя известное выражение: старое уходит, уступая место… еще более старому?
Да — световые пистолеты возвращаются. Но поскольку почти ни у кого больше нет ЭЛТ-мониторов, современные световые пистолеты используют искусственный интеллект и высокочувствительные камеры, встроенные в сами пистолеты. Это позволяет осуществлять сверхточное отслеживание местоположения, пока ЖК-экран остается в поле зрения.
Sinden Light Gun и G’AIM’E Gun — два примера таких устройств.
Периферийное устройство Sinden использует встроенную камеру и машинное зрение для считывания координат пикселей на ЖК-экране, обеспечивая высокую точность стрельбы в игре. Патент США № 11,314,339 покрывает эту технологию («Управляющее устройство для обнаружения»). И что интересно, Sinden Light Gun финансируется через краудсорсинг.
G’AIM’E Gun, по-видимому, использует аналогичную технологию, но, к сожалению, не удалось достоверно идентифицировать патенты США. Однако G’AIM’E Gun лицензирован компанией Bandai Namco Entertainment, которой также принадлежит патент США № 10,661,174 на аркадную игру, в которой пользователь сидит внутри кабины и стреляет из закрепленного пистолета в экран. В патенте используется проектор и камера для расчета направления выстрела и попаданий.
Кроме того, был найден еще один патент, полученный Sinden на усовершенствованный современный световой пистолет, который имитирует эффект отдачи настоящего огнестрельного оружия. Это достигается за счет подачи импульса тока через соленоид в ответ на нажатие курка, что еще больше улучшает погружение в игру. Эта технология описана в патенте США № 12,005,347 («Игровые контроллеры»).
От Duck Hunt до световых пистолетов с ИИ — эволюция пистолетоподобных периферийных устройств демонстрирует нам, как менялись технологии и игровая мода.
О сервисе Онлайн Патент:
Онлайн Патент — цифровая система № 1 в рейтинге Роспатента. С 2013 года мы создаем уникальные LegalTech‑решения для защиты и управления интеллектуальной собственностью. Зарегистрируйтесь в сервисе Онлайн‑Патент и получите доступ к следующим услугам:
-
Онлайн‑регистрация программ, патентов на изобретение, товарных знаков, промышленного дизайна;
-
Опции ускоренного оформления услуг;
-
Бесплатный поиск по базам патентов, программ, товарных знаков;
-
Мониторинги новых заявок по критериям;
-
Онлайн‑поддержку специалистов.
Автор: sokolovps


